Zavolejte nám
724 618 108
Napište nám
eshop@emas.cz
Obecné kontakty
Zobrazit
Sociální sítě
facebook instagram
Změna zobrazení produktů

Čelní adaptér VIP-PA-4X14/26/ 6,0M/1756/040 PHOENIX CONTACT 1162504

Dostupnost EMAS:
na objednávku
Zobrazit dostupnost na prodejnách
Původně:
26 745,39 Kč
Cena po registraci:
23 880,90 Kč/ks
Po registraci bez DPH:
19 736,28 Kč
Vaše cena s DPH:
24 873,92 Kč/ks
Vaše cena bez DPH:
20 556,96 Kč/ks
ks
Máte IČ? Získejte ještě výhodnější ceny!

Obecné parametry

Značka:
Phoenix Contact
Kód zboží:
ELOSOS1875061
Kód dodavatele:
1162504
EAN:
4063151172886
Standardní balení:
1 ks
Recyklační poplatek:
8,40 Kč

Technické parametry

Druh elektrického příslušenství:
adaptér
Náhradní díl:
ne
Příslušenství:
ano

Čelní adaptér VIP-PA-4X14/26/ 6,0M/1756/040 PHOENIX CONTACT 1162504

VIP-PA-4X14/26/ 6,0M/1756/040 najdete v kategoriích Příslušenství, Programovatelné řízení PLC, Rozvodnice, výkonové spínací a jistící prvky, výrobce Phoenix Contact, EAN 4063151172886, kód dodavatele 1162504. Čelní adaptér VIP-PA-4X14/26/ 6,0M/1756/040 PHOENIX CONTACT 1162504 nabízíme od 1 ks. Kód EMAS VIP-PA-4X14/26/ 6,0M/1756/040 je ELOSOS1875061.


Interní název produktu

VIP-PA-4X14/26/ 6,0M/1756/040


Podrobný popis produktu

VIP-PA-4X14/26/ 6,0M/1756/040

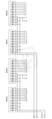
Čelní adaptér

Čelní adaptér VIP VARIOFACE, s připojenými systémovými kabely pro ControlLogix® 1756 I/O, možnost připojení až 4 x 8 kanálů.

V porovnávači máte 0 produktů.

Zobrazit porovnání Odebrat vše